TORNADO 315, Вентилятор центробежный канальный D 315
Канальные центробежные вентиляторы TORNADO предназначены для приточно-вытяжной вентиляции помещений, жилых и общественных зданий. Вентиляторы TORNADO имеют широкий диапозон типоразмеров, и предназначены для установки в круглых каналах.
- Корпус вентилятора изготовлен из оцинкованной стали. Оснащен однофазным двигателем с внешним ротором, оборудован термоконтактным реле с автоматическим перезапуском.
- Рабочее колесо имеет загнутые назад лопатки и изготовлено из пластика. (У моделей TORNADO 250 и TORNADO 315 рабочее колесо изготовлено из металла).
- Регулировка скорости вращения возможна с помощью бесступенчатого симисторного регулятора. Подача электропитания на вентилятор осуществляется через наружную клеммную коробку.
- Монтаж к стене осуществляется с помощью крепежа, который входит в комплект вентилятора.
Вентиляторы рассчитаны на продолжительную работу без отключения от сети. По типу защиты от поражения электрическим током вентиляторы TORNADO относятся к приборам класса I по ГОСТ 12.2.007.0-75 и должны быть заземлены.
Степень защиты от доступа к опасным частям и проникновения воды IPX4.
Вид климатического исполнения вентилятора УХЛ 4.2 по ГОСТ 151590-69

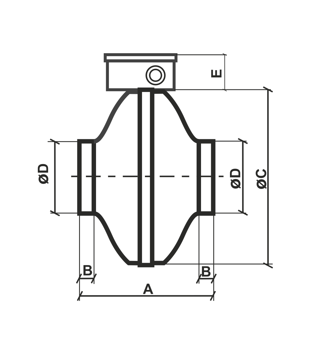
| Модель | A | B | C | D | E |
| Tornado 100 | 194 | 23 | 243 | 100 | 48 |
| Tornado 125 | 195 | 27 | 243 | 125 | 48 |
| Tornado 150 | 222 | 23 | 333 | 150 | 48 |
| Tornado 160 | 222 | 25 | 333 | 160 | 48 |
| Tornado 200 | 223 | 24 | 333 | 200 | 48 |
| Tornado 250 | 206 | 27 | 333 | 250 | 48 |
| Tornado 315 | 230 | 25 | 401 | 315 | 48 |
Пример монтажа вентилятора TORNADO

1. Анемостат вытяжной (АВП)
2. Круглый воздуховод (ВП)
3. Соединитель плоского воздуховода с фланцевыми воздухораспределителями (СКФП)
4. Соединитель плоского воздуховода с выходом на фланцевые воздухораспределители (ТФП)
5. Плоский воздуховод (ВП)
6. Колено плоское горизонтальное (КГП)
7. Тройник плоский (ТПП)
8. Соединитель круглого воздуховода с плоским (СПКП)
9. Вентилятор канальный приточно-вытяжной (TORNADO)
10. Накладка торцевая для круглых воздуховодов (НКП)

